BQ79616 16節串聯電池監測器TI
發布時間:2024-09-05 09:33:52 瀏覽:2087
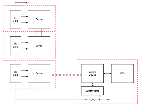
BQ79616 是TI推出的一款16節串聯電池監測器,專為高壓電池管理系統設計,適用于混合動力和電動汽車(HEV/EV)的動力總成系統。該器件集成了高精度的電池電壓測量、電池均衡和硬件保護功能,能夠提供精確的電池狀態監控和管理。
該器件的密封設計支持多種通信選項,便于用戶計算電池狀態(SOC),并包括溫度差分自動調整和恢復能力,以避免潛在的異常條件。

特性
1. 高精度:BQ79616 提供 ±1.5 mV 的 ADC 精度,確保電池電壓測量的準確性。
2. 快速測量:能夠在 128 μs 內完成所有電池通道的高精度電壓測量。
3. 先進技術:集成后 ADC 可配置數字低通濾波器和紅外通信功能,增強了數據處理的靈活性和通信能力。
4. 電池均衡:支持內部或外部電池均衡,最大可處理 240mA 的均衡電流,并具備自動停靠和恢復控制功能。
5. 隔離系統通信:采用環形架構,通過通信中繼器實現信息的有效傳輸。
6. 主機控制和通訊:支持 UART/SPI 主機接口,可與 TI 的 BQ79600 通信橋接器配合使用,內置 SPI 控制器。
應用
BQ79616 主要應用于電池管理系統(BMS),特別是在混合動力和電動動力總成系統中,以及帶有電池管理系統的儲能電池組。
封裝信息
- 型號:BQ79616
- 封裝:HTQFP(64 引腳)
- 尺寸:10.00mm x 10.00mm
上一篇: HFBM075100C高頻巴倫適配器iNRCORE
下一篇: Tillotson賽車化油器
推薦資訊
本文探討了MSN12VD30 - FR作為LMZ31530替代方案的可行性。介紹了兩款產品的產品概述,包括LMZ31530是30A同步降壓模塊及相關參數,MSN12VD30 - FR是數字電源模塊及相關參數。綜合多因素,MSN12VD30 - FR是LMZ31530理想替代選擇,尤其適合對高性能、高靈活性和高可靠性有需求的工程師。
APD F1系列是全球最小型(27.94×44.45×12.7mm)的高壓可編程DC/DC模塊,采用軍工級鎳鍍金屬封裝,支持±100V至±2kV寬范圍精準調節(精度<1%),通過5V/12V輸入實現超穩輸出(線性/負載調整率分別達0.01%/0.05%)。其拇指大小的體積集成了-55°C至+85°C寬溫工作能力,成為質譜儀、光電探測器等精密設備的微型高壓"瑞士軍刀",尤其適合空間受限的TOF-MS、靜電除塵等場景。
在線留言